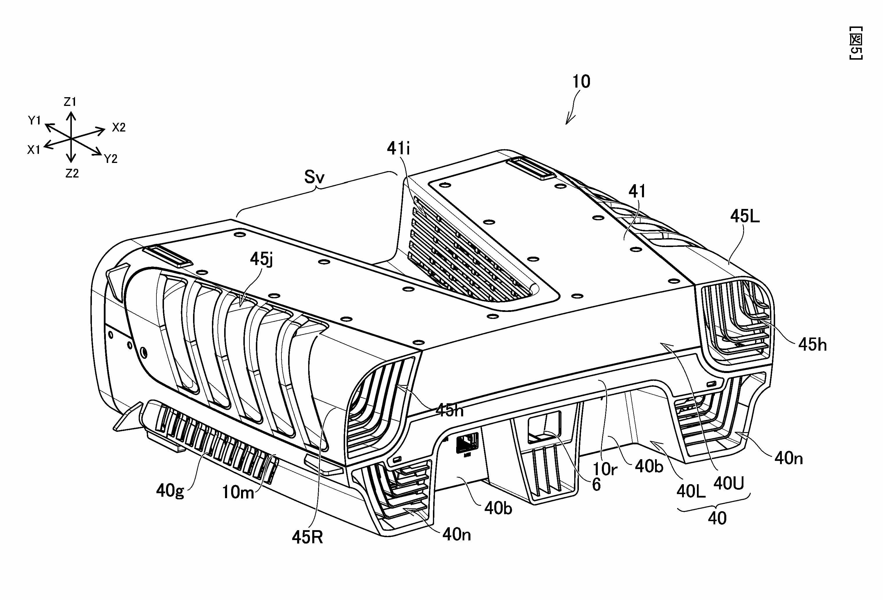
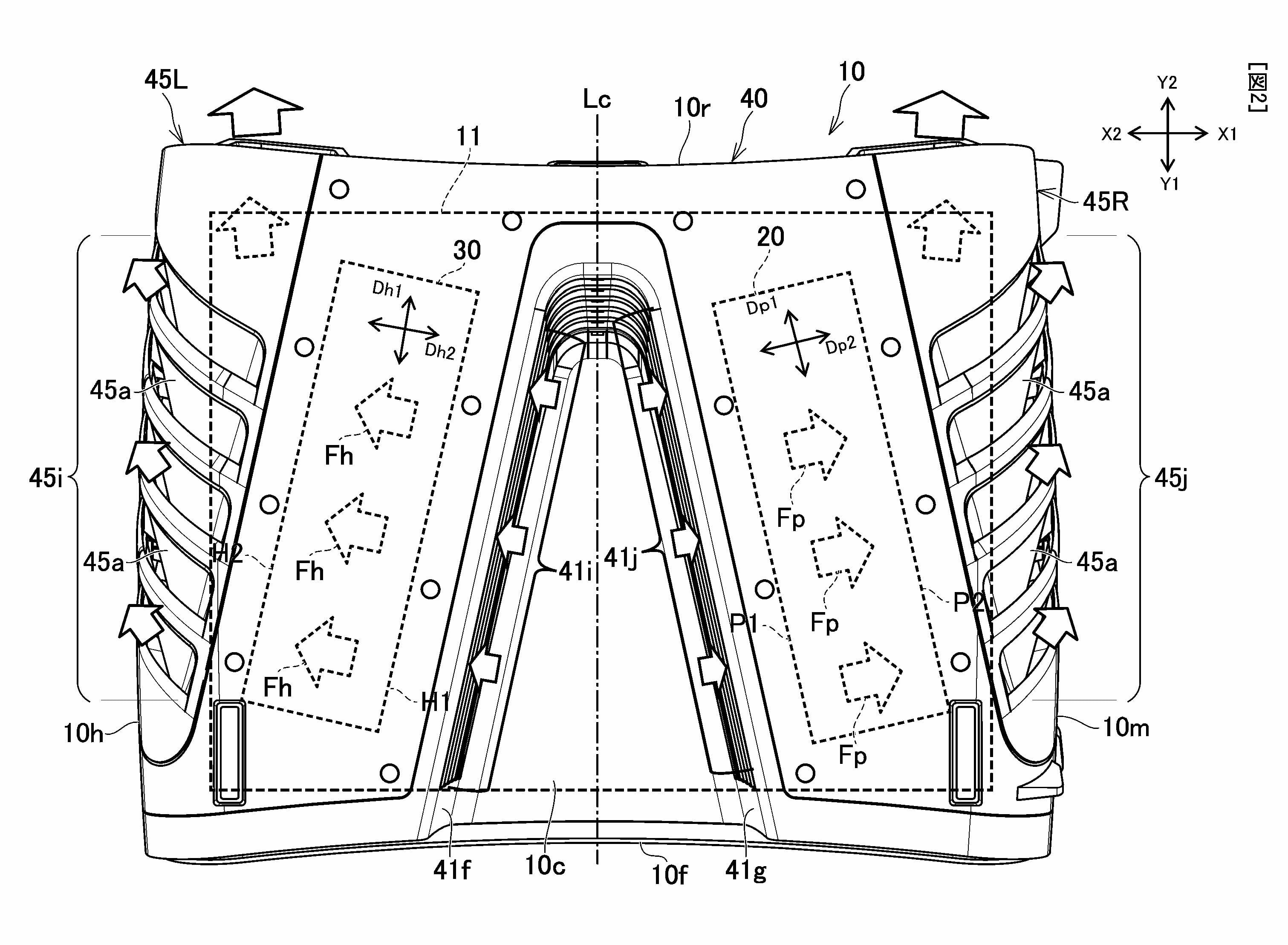
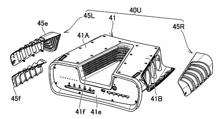
Sony опубликовала патент девкита PlayStation 5
4 июня Всемирная организации интеллектуальной собственности опубликовала патент девкита PlayStation 5.
Sony подала документы в ноябре 2019 года. На рисунках детально отображена система охлаждения будущей консоли.
Первые патенты девкитов PS5 появились в августе 2019 года. Ранее Sony сообщила, что выход PlayStation 5 намечен на период праздников 2020 года, но точной даты релиза нет.
Обзор Valorant: для релиза в игре очень мало контента





Опубликовал: Владислав Лазуренко
Источник: WIPO
Комментарии
Главные новости
Последние новости


















